12月28日消息,据国外媒体报道,苹果近日提交的专利申请透露了一种不同于传统涡轮机方式的风能利用技术,而这也是一个不属于该公司通常关注产品应用的概念。

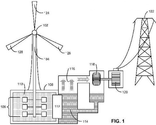
风能发电技术专利图
苹果的专利称,风力涡轮机产生的电力将被转换成热能,并存储在“低热容量液体”中,在没有风时利用这些能量发电。
这一切都很有技术性,但在专利申请中却是几笔勾画出。该系统可利用转子运动搅动“低热容量液体”(如乙醇或汞),通过2个物体表面的摩擦产生热量。这使得存储液体转变为随后会沸腾释放蒸汽的工作液体,蒸汽驱动涡轮机将能量转换为可用形式的能量。苹果的系统不同于一般的风电机,后者受风力的高度变化影响,而系统用电池储存通过转动能产生的能量。
相反,其目的是可以更加“按需”的方式提供风能,这对要求持续不间断供电的设施是非常重要的。这也可解释苹果为什么开发这种技术的原因:其庞大的数据中心有巨大的电力需求,该公司已经表示,将致力于利用风能、太阳能和其他替代能源,使这些设施平稳运行。目前为止,苹果主要建设太阳能电场和沼气发电厂,满足其数据中心的能源需求。竞争对手谷歌最近也透露,其有一个数据中心首次使用了风力发电。